微能信息科技开发的高精度uwb人员定位系统,采用TDOA定位算法,做人员定位,定位精度10厘米~30厘米。支持单房间0维人员存在性检测、一维、二维、三维人员定位模式,广泛应用于工厂/仓库/化工厂/监狱/工地等室内或室外场景,做静止或移动的人员定位。
微能信息uwb定位系统架构
微能信息UWB定位系统架构:如下图所示,包括UWB基站(加基站电源、固定支架等),UWB标签,UWB定位引擎算法,UWB定位软件等。

微能信息高精度超宽带UWB定位系统架构包括:UWB基站、UWB标签、定位引擎、终端显示设备。
(1)UWB基站:UWB定位系统要求预先在定位区域安装好UWB定位基站。UWB基站通过UWB信号和定位标签进行通信,实现定位UWB标签的功能。
(2)UWB标签:需要定位的人员或物品,须佩戴或绑定UWB定位标签。标签发射UWB信号,与基站相互通信,通过定位引擎解算,实现标签自身被定位。
(3)UWB定位引擎:UWB基站实时将原始数据通过网络发送给定位引擎,定位引擎运行定位算法,实时计算出被定位标签的坐标位置。
(4)显示终端:定位引擎计算出来的标签的定位坐标一般是在终端上显示出来的,终端可以是PC电脑、平板、手机等任意有浏览器的设备。
微能信息UWB定位系统优势
微能信息的超宽带UWB定位系统具有最高10厘米的定位精度,大于50米的超大覆盖半径,便捷维护扩展,3个UWB基站即可组成基本的UWB定位系统,实现稳定的高精度二维定位,UWB基站数量少,定位系统硬件部署成本低。
(1)基于微能信息研发的TDOA高精度定位算法;
(2)支持0维存在性/1维线性/2维/3维平面混合高精度定位算法;
(3)可实现丰富的定位功能:实时定位、历史轨迹回放、电子围栏、数据统计等;
(4)可按需要将定位引擎部署在用户本地或云端服务器上;
(5)支持分布式服务器,无限扩展性能;
(6)具有开放的HTTP API接口,支持丰富的接口数据和功能扩展;
(7)基站和标签的数量可大量扩展;
(8)可进行远程硬件程序升级和配置
微能信息UWB定位基站和标签
1,UWB定位基站

2,UWB定位手环

3,UWB定位工卡

UWB定位系统的应用场景
微能信息高精度UWB定位系统可应用于监狱人员定位、养老院定位、物流仓储行业、施工人员定位、4S店客流分析、地下矿道和隧道人员定位、物资定位、发电厂电站、智慧工厂、石油化工厂人员定位等。
微能信息UWB定位系统后台管理系统
以下是微能信息的UWB定位系统后台管理软件介绍,进入UWB定位系统后台管理以后,可以看到如下UI界面。

下面介绍几个后台管理系统中常用的功能
1,如下图1所示,在后台管理界面实时显示人员、物品位置定位信息,点击弹出显示详情信息,一键查看在线、离线人员、物品,电量监控。

图1:人员实时定位
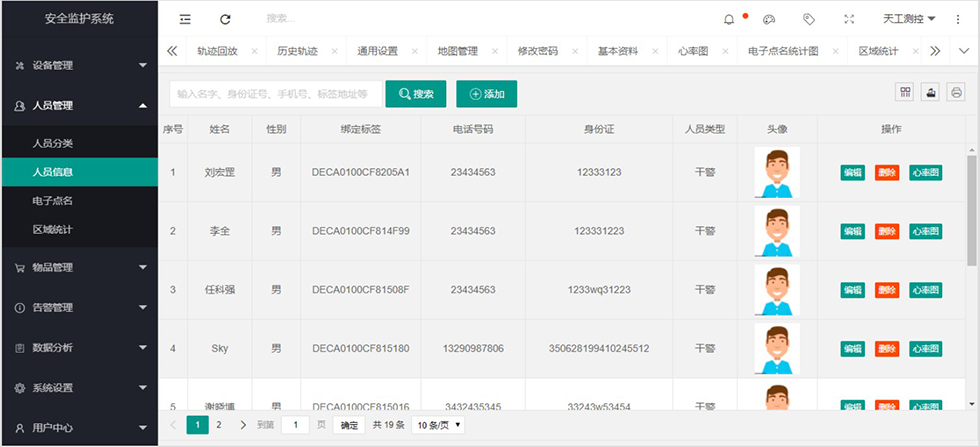
2,如下图2所示,系统可以列表的样式展示人员信息,分页查询,根据姓名、身份证等查找人员,并且可以一键查看人员的心率数据(仅限于佩戴UWB手表的人员)。

图2:列表展示人员信息
3,如下图3所示,管理人员在系统中可以自定义规划电子围栏区域,当人员进入、离开或者停留时,触发电子围栏报警。

图3:划定电子围栏
4,如下图4所示,可以在系统中使用鼠标一键拖动UWB基站,实现基站位置的快速配置,可以远程下发配置命令,无须到现场即可实现一键配置一键定位。

图4:在线配置UWB基站
5,如下图5所示,针对人员的运动轨迹查看,选择某天的轨迹进行查询,分别查出当日的真实轨迹路径,并可以快进播放。

图5:人员历史运动轨迹查询
6,如下图6所示,针对人员的SOS呼救信息,系统会自动弹出告警,管理员可以查看该人员呼救时的位置,帮助管理者快速跟踪报警人员
并处理。

图6:SOS呼救信息管理
7,如下图7所示,系统警报功能开关,方便管理员配置弹窗报警信息,后续接入声光报警设备,更智能。

图7:系统告警信息管理
微能信息UWB定位落地项目案例分享:
95power和某系统集成商合作伙伴落地某国家电网UWB室内定位项目

